




Сверлильная машина МС-36 — это профессиональное решение для металлообработки, где важны мобильность и вы сокая скорость работы. Модель разработана специально для качественного сверления металла в условиях монтажных площадок, на высоте и в ограниченных пространствах. Если вы планируете купить магнитный станок, который можно легко переносить одной рукой, МС-36 станет лучшим выбором.
• Работа корончатыми сверлами: Станок оптимизирован под корончатые сверла (фрезы) диаметром до 36 мм. Использование кольцевого сверления позволяет выполнять отверстия значительно быстрее, чем обычными сверлами, при меньших затратах энергии.
• Зенкование и оснастка: Модель позволяет выполнять зенкерование до 40 мм. Шпиндель стандарта Weldon 19 мм обеспечивает надежную фиксацию инструмента и быструю его замену.
• Надежный двигатель: При мощности 1000 Вт и частоте вращения 350 об/мин станок поддерживает стабильный крутящий момент, необходимый для работы с твердыми сплавами.
• Экстремальная легкость (9.9 кг): МС-36 — одна из самых легких магнитных дрелей в мире. Это незаменимо при работе на металлоконструкциях, где крупногабаритное оборудование невозможно закрепить или поднять вручную.
• Интеллектуальный магнит (MFSC): Система Magnetic Field Shape Control гарантирует максимальную силу притяжения основания даже на неровных или тонких поверхностях. Система защиты предотвращает запуск двигателя при слабом магнитном контакте.
• Износостойкость: Трубчатые направляющие и усиленная обмотка ротора защищают инструмент от перегрузок и преждевременного износа, что критически важно при интенсивной эксплуатации в суровых условиях.
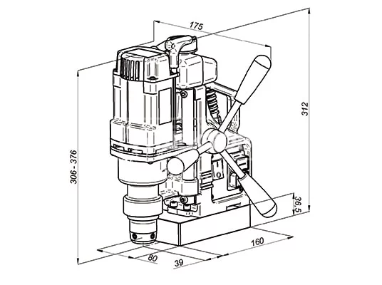
Благодаря компактным размерам основания (80 × 160 мм) и малому расстоянию от оси шпинделя до края (39 мм), станок позволяет работать вплотную к углам и перекрытиям. Дополнительно возможна установка на трубы или использование вакуумной платформы для крепления на немагнитных материалах.
Запросите цену и наличие МС-36 у наших менеджеров. Мы обеспечиваем сервисную поддержку, наличие запчастей и оперативную доставку оборудования для вашего производства

| Мощность, Вт | 1000 |
| Напряжение/частота тока, В/Гц | 220 - 240 / 50 - 60 |
| Шпиндель | 19мм Weldon |
| Скорость, см/мин | 1 |
| Частота вращения, об/мин | 350 |
| Диаметр сверления кольцевой фрезой, мм | 36 |
| Зенкерование, мм | 40 |
| Размеры основания, мм | 80 × 160 × 36,5 |
| Высота макс/мин, мм | 376 / 306 |
| Рабочий ход, мм | 70 |
| Масса, кг | 9,9 |
| Расстояние от оси шпинделя до основания, мм | 39 |
Мы гарантируем высокое качество и неизменную надежность оборудования. На всю продукцию распространяется гарантия.
info@vector.by +375 33 675 33 55 +7 (495) 641-90-53 Vector г.Гродно, ул.Горького 72 Республика Беларусь 230029